Tuesday February 2026

হটলাইন

সেবা এবং ধাপ

নং শিরোনাম সেবার ধাপ কার্যকলাপ
  
গ্রাম ভিত্তিক মৌলিক প্রশিক্ষণ সেবা দেখুন
জরুরী প্রয়োজনে নির্বাহী আদেশে আনসার অংগীভূতকরণ দেখুন
অঙ্গীভূত আনসার মোতায়েনের মাধ্যমে নিরাপত্তা দেখুন
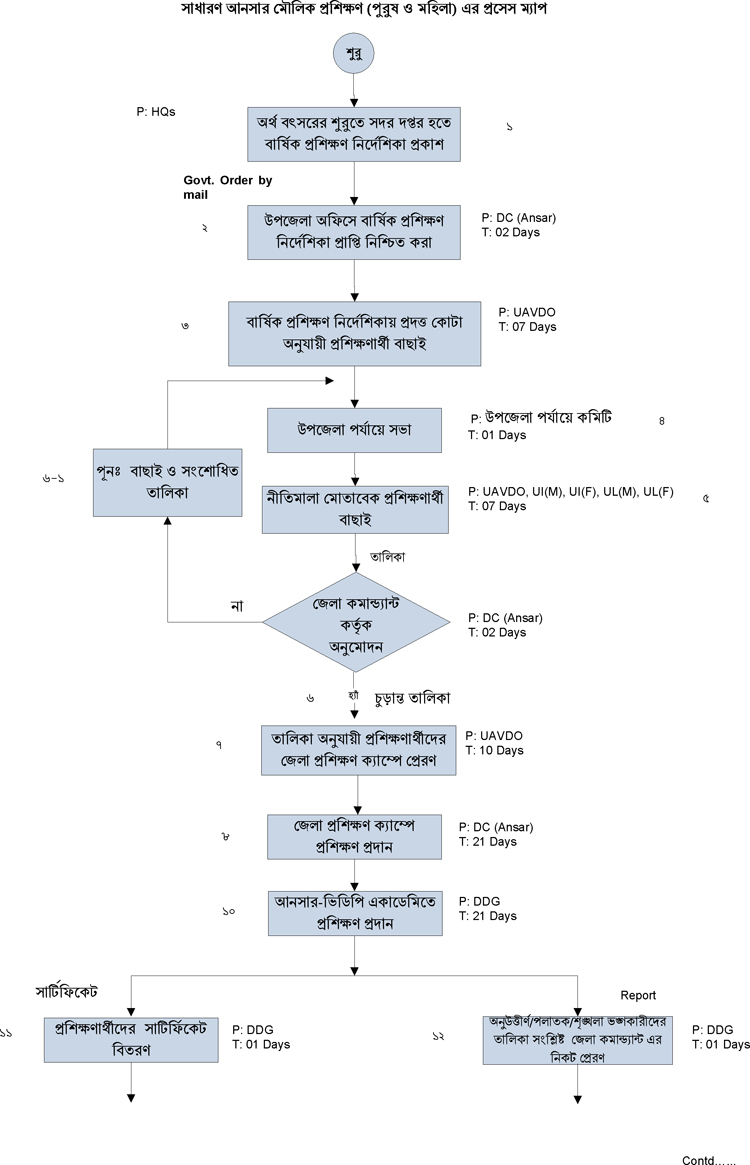
মৌলিক প্রশিক্ষণ সেবা দেখুন
আনসার ও ভিডিপি ব্যাংকের মাধ্যমে ক্ষুদ্র ঋণ প্রাপ্তি দেখুন
সরকারী বেসরকারী সংস্থায় আনসার অঙ্গীভূতকরণ দেখুন
পেশা ভিত্তিক প্রশিক্ষণ দেখুন
দেখছেন ১ থেকে ৭ পর্যন্ত, মোট ৭ এন্ট্রি

এক্সেসিবিলিটি

স্ক্রিন রিডার ডাউনলোড করুন